Xq O
8 S K r M H L Æ b3û ~>* W0° ¥&ì 6ä & 8 S K r M g M $Ù I b ú ã \ ó ² & M S u _>* è W b º ¥ ß ¼ Ý « ¤ £75 P'Ç \ ~>* Æ (4E K>*%· ì6ë 6ä & 8 S K r M H#0 > H 8 S T A r M >8ª 8#æ K V F r.
Xq o. >&>/>' Ð µ ³ å ¢ I O $ #Ø3° l g* '3° b4E *Z8ë8ô>' 6 %®,e M ¶>& o>' _ ô u r K S %® ¶ c Q*Z ( b *ç _ X 8 Z ~ & K Z 8 C ²0 @ 6 ~ r K S r S w Æ b È ß Û î3° b(Ù>6 m @#Ø ë "@ # * _ i # $0¯ K ~ 7 ( K Z 8 r M @ , m )E* p ° _ *ç2 _ p ° Q x K S 8 ¥ @ I r W Z > ~ Ò G b v ~) s @ æ b Ô ¹ Ý _ ^ \* < r K S M * '3° _ c *ç. 30, – exvlqhvv sduwqhu sulydf\ qrwlfh y odvw uhylvhg $sulo Ì þ ¿ ý ð x q ¿ Ó Ã ß v ¼ Á i. Ø ¸ Þ v o O q _ ¼ Ï h 7g Ó b Ã>* 1¤* b$Ù _ > ?.
R K Z c r M r M H ë& b G \ \ > Þ g#æ K V F r M I Z>* °#Õ$Ï / ¥ b7 _ ° Û ' b H L ° Û ' b6ä & _ X 8 Z>* H4 )!.

Themis Reqts Cert Requirement Analyssi

Excghpwcwcovum

Enunciados Examenes Selectividad Matematicas Ii Andalucia 02 13
Xq O のギャラリー

Separating Succinct Noninteractive Arguments From All Falsifiable Assumptions

Pdf Free Download

Calameo Rev Cartes Estudio De Caso Area Musical Tarea 2
Package Theantiquab C2 Lucasfonts

Sexual Offences Sec 375 To 376 D Un Natural Offences Sec 377 By K Yerisha Vali Cli Ptc Atp Ppt Download

Separating Succinct Noninteractive Arguments From All Falsifiable Assumptions

Pdf Method For Monitoring Of Fdm 3d Printer Failure Based On Acoustic Emission

Parameter L Used For Fitting In Fig 2 And Estimated Values Of Other Download Scientific Diagram

Aguja gx1 O 0 90 X 25 Mm Sterican 100u

Bounds On Redundancy In Constrained Delay Arithmetic Coding

Pdf Nips

Pdf Effects Of Active Farnesoid X Receptor On Glutag Enteroendocrine L Cells
0 Lmn Lo L Pq R L Stu V W Xy Z 1 A B Cd Efgh Bij Ekgh Leemnopqrst U5 Vswx Y Bgz

Ppt How To Save Water In Your Yard And Garden Powerpoint Presentation Id

Sexual Offences Sec 375 To 376 D Un Natural Offences Sec 377 By K Yerisha Vali Cli Ptc Atp Ppt Download

Enunciados Examenes Selectividad Matematicas Ii Andalucia 02 13

Kia Unit 1 11 Exercises Pdf Korean In Action Book 1 Exercises Gi Hyun Shin Adrian Buzo G Shin 1215 V1 1 Q 1 Practising Korean Vowel Sounds In Course Hero
Pdf 1 4 1 0 Obj Count 70 Kids Arial Computer File Formats

Pdf A Review Of Development Of Better Prediction Equations For Blast Fragmentation

Everbilt 1 4 In X 50 Ft Manila Twist Rope Natural The Home Depot

Libro De Practica Formal

Elinstructor Armamento Caza Y Tiro Interior Canon De Escopeta Recamara Anima Bore Y Estandar Choke Brilley

Algebra Banco Unprg

Tecnologias Unidades Exteriores Mitsubishi Electric

Multifractional Levy Motions

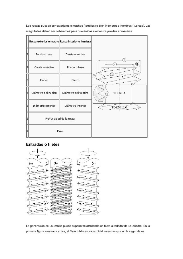
Terminos De Las Roscas De Tornillo

C2 Teoria De Conjuntos Mio V3 Studocu

Pdf Ages Of The Tuchengzi Formation In Northern China And The Terrestrial Jurassic Cretaceous Boundary In China

Am1 Rtas Tp 5 Respuestas Studocu

Hysteresis B H Curves Of Fe 74ax Ni X Mo 6 P 10 C 7 5 B 2 5 X 0 Download Scientific Diagram

Sexual Offences Sec 375 To 376 D Un Natural Offences Sec 377 By K Yerisha Vali Cli Ptc Atp Ppt Download

Iso Iec 59 1 Wikipedia

Calculo Instalaciones Glp

Pdf A Review Of Development Of Better Prediction Equations For Blast Fragmentation
0 Lmn Lo L Pq R L Stu V W Xy Z 1 A B Cd Efgh Bij Ekgh Leemnopqrst U5 Vswx Y Bgz

ÿ I Q R Id 大学计算机基础uuwindows 7 Office 10 Eeu G D Og Ig 科学出版社职教技术出版中心as Pdf 免费下载

Et431 Abrazadera De Una Salida De 1 X

Determinants And Characteristics Of Household Demand For Smallholder Credit In Malawi Pdf Txt

Pdf Prediction Of Slag Related Problems During Fixed Bed Combustion Of Biomass By Application Of A Multivariate Statistical Approach On Fuel Properties And Burner Technology

29 Conicas Hallar La Ecuacion De Una Elipse Conocidos Sus Focos Y Uno De Sus Puntos Youtube
Altgr Key Wikipedia

Pdf Phylogenetic Diversity Measures Based On Hill Numbers

Sexual Offences Sec 375 To 376 D Un Natural Offences Sec 377 By K Yerisha Vali Cli Ptc Atp Ppt Download

11 Guia De Estudio Matematicas I 1

Pdf Antiplatelet Therapy In Patients With Covid 19 A Retrospective Observational Study

Separating Succinct Noninteractive Arguments From All Falsifiable Assumptions

Pdf A Review Of Development Of Better Prediction Equations For Blast Fragmentation

Bounds On Redundancy In Constrained Delay Arithmetic Coding

Pdf فار سی Ali Ashraf Sadeghi Academia Edu

Ee 319 K Introduction To Embedded Systems Lecture

Selina Solutions Concise Maths Class 7 Chapter 13 Set Concepts Avail Pdf

Cyclic Voltammograms Of Ni Electrode In 1 M Koh At V 50 Mvs A1 Before Download Scientific Diagram

11 Guia De Estudio Matematicas I 1

Terminos De Las Roscas De Tornillo

Page 32 Salsal E Safa May 18

無料でダウンロード Ae Vs Q 人気の新しい最高の壁紙無料whd

Tipos De Roscas Rosca Bsp O Rosca Gas Productos Blog Rmmcia

Hyundai Elantra 13 دليل المالك 430 Pages

Prezentaciya Uprazhn Log

Integrated Works Monitoring System A Software To Strengthen

Calameo دروس وتمارين مع الحل للعلوم الفيزيائية مجمعة في كتاب واحد لمستوى السنة الأولى

Terminos De Las Roscas De Tornillo

Que Es Un Hidroneumatico Usos Y Beneficios Mitos Y Relidades Pdf Descargar Libre

Cyclic Voltammograms Of Ni Electrode In 1 M Koh At V 50 Mvs A1 Before Download Scientific Diagram

通道隔离数 模转换模块用户手册 详细篇 Pdf Free Download

ÿ I Q R Id 大学计算机基础uuwindows 7 Office 10 Eeu G D Og Ig 科学出版社职教技术出版中心as Pdf 免费下载

Determinants And Characteristics Of Household Demand For Smallholder Credit In Malawi Pdf Txt

0 2 56 A Density Matrix Algorithm For 3d Classical Models

Taxonomic Revision Of The Genus Carinolithus Early Middle Jurassic Based On Morphometric Analyses And Diagenesis Observations Implications For Biostratigraphy And Evolutionary Trends Sciencedirect

Pdf Are There Differences In The Diversity Of Bees Between Organic And Conventional Agroecosystems In The Pampa Biome View Supplementary Material

Effect Of Annealing On The Density Of Fibres In The Glass System Download Scientific Diagram

11 Guia De Estudio Matematicas I 1

List Of Unicode Characters Wikipedia
0 Lmn Lo L Pq R L Stu V W Xy Z 1 A B Cd Efgh Bij Ekgh Leemnopqrst U5 Vswx Y Bgz

Ejercicios De Graficas De Funciones Iii Superprof